Zaloguj się
Zaloguj się
Adres e-mail
*
Hasło
*
Nie pamiętasz hasła?
Zmień hasło.
Zaloguj się
Zarejestruj się
0
Koszyk:
0
zł
Koszyk
info:
Twój koszyk jest pusty!
×
Kategorie produktów
Suplementy dla drobiu
Wyposażenie budynków inwentarskich
Pakowaczki i sortownice do jaj
Vencomatic
Prinzen
CZĘŚCI
Stemple i drukarki do jaj
Wentylacja
Sterowniki klimatu
Wentylatory
Filtry
Kurtyny powietrzne
Osłony na wloty
Siłowniki
Wloty powietrza
Żaluzje wlotowe
Ogrzewanie
Części zamienne do nagrzewnic
Oświetlenie
Myjki do jajek i wytłaczanek
Myjki do tacek transportowych
Dezynfekcja i mycie jaj
Konserwacja maszyn
Wagi dla drobiu
Systemy pojenia
Poidła
Rury i przejściówki
Elektrozawory
Gałązki wodne
Wiązki wodne
Inne
Systemy karmienia
Karmienie
Karmidła
Silosy
Elementy pod silos
Transport paszy
Motoreduktory
Rury paszowe
Spirale
Wysypy i jednostki kontrolne Fi
Inne
Systemy podwieszania
Serwomotor i winda elektryczna
Bloczki
Linki
Inne
Automatyka i elektryka przemysłowa
Aparatura modułowa
Lampki modułowe
Ograniczniki mocy
Przekaźniki
Rozdzielnice modułowe
Wkładki bezpiecznikowe
Wskaźniki zużycia energii eleketrycznej
Wyłączniki nadprądowe
Wyłączniki różnicowoprądowe
Wyłączniki silnikowe
Rozłącznik modułowy
Elementy łączeniowe
Szybkozłączki
Bloki rozdzielcze
Listwa Zaciskowa
Elementy montażowe
Przewód
Rura karbowana
Gniazda, łączniki, ramki etc.
Gniazda
Gniazda siłowe
Łączniki
Ramki
Puszki
Oświetlenie
Naświetlaczy
Oprawy oświetleniowe
Taśma LED
Plafon
Narzędzia elektryczne
Inne
Weterynaria i zootechnika
Strzyżenie
Maszynki
Zestaw noży
Zgarniaki
Gumy do zgarniaka
Zgarniaki do nieczystości
Noże
Wieszaki
Akcesoria hodowlane
Inne
Pastuchy elektryczne
Elektryzatory
Baterie i akumulatory
Druty i plecionki
Izolatory
Słupki
Akcesoria
Narzędzia i akcesoria hodowlane
Dezynfekcja i higiena sanitarna
Dezynfekcja i higiena sanitarna
Znakowanie
Wózki i podesty
Opony, dętki, koła, zestawy jezdne
Pomosty magazynowe
Wózki transportowe
Kontakt
O firmie
+48 (77) 44 00 700
sklep@agro-sklep.com.pl
Menu
Kategorie
Koszyk
0
zł
0
Zaloguj się
Zaloguj się
Adres e-mail
*
Hasło
*
Nie pamiętasz hasła?
Zmień hasło.
Zaloguj się
Zarejestruj się
+48 (77) 44 00 700
sklep@agro-sklep.com.pl
Strona główna
Wyposażenie budynków inwentarskich
Pakowaczki i sortownice do jaj
Prinzen
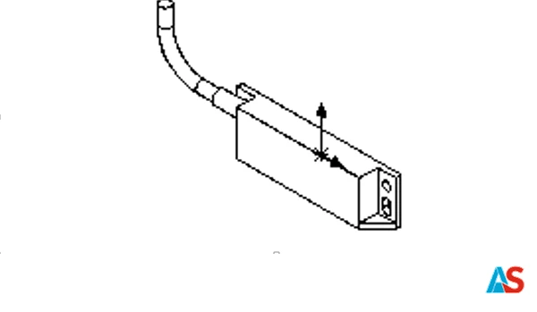
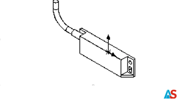
Czujnik bezpieczeństwa TE XCS-DMP7005
Czujnik bezpieczeństwa TE XCS-DMP7005
516,60
zł
netto
635,42
zł
brutto
Natychmiast
+
-
Dodaj do koszyka
Opis
Zapytaj o produkt
Czujnik bezpieczeństwa TE XCS-DMP7005
Zadaj pytanie o produkt
Czujnik bezpieczeństwa TE XCS-DMP7005
Imię i nazwisko
*
Adres e-mail
*
Telefon
*
Wiadomość
*
Zabezpieczenie przed robotami
*
Aby wysłać formularz, prosimy zaakceptować poniższe zgody.
Potwierdzam, że zapoznałem się i akceptuję regulamin sklepu internetowego.
*
Potwierdzam, że zapoznałem się z polityką prywatności sklepu internetowego.
*
Wyślij wiadomość
Powrót do listy
Polecane produkty
Napinacz łańcucha typu Spannbox rozmiar 0
182,46
zł
netto
224,43
zł
brutto
Cylinder DSNU-20-25-PPV-A
386,32
zł
netto
475,17
zł
brutto
Mocowanie M5x30
34,68
zł
netto
42,66
zł
brutto
Koło zębate łańcuchowe 25H7 1/2`-22z
27,90
zł
netto
34,32
zł
brutto
Pas transportera WVT-118 2315x686+2x PVU-8T+G001
2,00
zł
netto
2,46
zł
brutto
Wspornik blokowy
16,66
zł
netto
20,49
zł
brutto
Łańcuch do przenośnika kubkowego PSPC
163,65
zł
netto
201,29
zł
brutto
Silnik OVOSTAMP - 54 W, 200 rpm
1 979,50
zł
netto
2 434,79
zł
brutto
Łożysko w obudowie talerzowej ASPFL 204 2RS
18,88
zł
netto
23,22
zł
brutto
Wypychacz 30-3\L1445\D6\UV77\RU1000
64,75
zł
netto
79,64
zł
brutto
Blok łańcucha
2,93
zł
netto
3,60
zł
brutto
Wał nośny elevatora
9,87
zł
netto
12,14
zł
brutto
×
Modal